Эффективность стрельбы зависит не только от конструкции, технических характеристик оружия или уровня подготовки стрелка, но и от используемого прицела. Это неотъемлемая часть ружья, такая же важная как ствол, ударно-спусковой механизм или приклад.
Вместе с оружием, прошедшим путь от примитивных мушкетов и аркебуз до современных винтовок, автоматов и пистолетов, эволюционировал и прицел. Сначала это была только мушка, в XVI веке появился целик, а чуть позже кольцевой ортоптический прицел — прообраз современного апертурного. Прицельную оптику стали применять значительно позже, только в начале XIX столетия.
В современном стрелковом оружии используется несколько типов прицельных приспособлений, о каждом из них мы поговорим в этой статье. Объясняем про каждый тип прицела в таком порядке:
- Устройство и принцип действия
- Основные преимущества
- Недостатки
- Применение, том числе на охоте
Содержание статьи
- Механический открытый прицел
- Апертурный диоптрический прицел
- Оптический прицел
- Коллиматорный прицел
- Лазерный целеуказатель
- Ночной прицел на основе ЭОП
- Цифровой прицел
- Тепловизионный прицел
Открытый прицел
Открытый прицел — самый простой по конструкции и самый распространенный, штатный для большинства моделей современного стрелкового оружия.
Устройство и принцип действия
Устройство открытого прицела — расположенные на одной линии целик и мушка. В зависимости от варианта, мушки различаются по форме и конструкции, а целик может иметь фиксированную или неподвижную планку. Чтобы навести оружие на цель, стрелку требуется визуально совместить целик, мушку и саму цель, чтобы они оказались на одной линии, точно посредине прорези прицела.
Кроме прицелов с подвижной или откидывающейся планкой, иногда встречаются варианты с регулируемой мушкой. В последнее время популярны оптоволоконные мушки, подсвеченные зеленым или красным светодиодом. Это немного упрощает задачу стрелка в сумерках, но не делает сам прицел точнее. Также на зарубежных винтовках, например AR, установлен сразу диоптрический прицел.
Преимущества открытых прицелов:
- надежность;
- невысокая стоимость;
- компактность и малый вес;
- легкость обслуживания, ремонтопригодность;
- простота конструкции;
- механическая прочность;
- неограниченный диапазон рабочих температур.
Недостатки:
- на дальних дистанциях мушка перекрывает цель;
- невысокая точность прицеливания, ограниченная возможностями зрения;
- требуется длительное время для тренировки навыков.
Применение
Несмотря на все недостатки, открытые прицелы применяются чаще других. Они установлены практически на всех образцах армейского, служебного и гражданского стрелкового оружия, как нарезного так и гладкоствольного. Это связано с их исключительной надежностью и простотой.
Все охотничье оружие, без исключения, укомплектовано той или иной модификацией механического прицела. Можно возразить, что традиционное прицельное приспособление дробовика — европейская цилиндрическая или американская шаровидная мушка с планкой или вовсе без нее. Но это тоже один из вариантов открытого механического прицела, вполне точный для стрельбы дробью.
Перед тем, как принять решение о том, какой прицел выбрать именно вам, следует понять факторы, которые ограничивают использование открытого прицела. Эти факторы характерны для каждого типа прицелов, но здесь мы разбираем их более подробно.
Чаще всего такой прицел используют на охоте на дистанциях до 50 метров. В общем случае, характерном для всех прицелов, ограничивающими факторами дистанции могут быть:
- прицельная дальность оружия;
- конструкция прицела;
- размер цели;
- тактика стрельбы или охоты;
- навык стрелка;
- зрение.
Из всех правил бывают исключения, но для общего понимания приведём примеры по каждому пункту.
По прицельной дальности открытый прицел применяют на пистолетах, гладкоствольных ружьях (как дробью, так и пулевой стрельбе), мелкокалиберных и пневматических ружьях.
Размер мушки и целика и удалённость их друг от друга также влияют на прицельную дальность стрельбы. Важно понимать, что чем дальше друг от друга целик и мушка, тем точнее выстрел. Так, выбить десятку на 100 метров из пистолета крайне затруднительно.
Чем больше цель (предмет охоты), тем проще в неё попасть. Осторожного тетерева, наблюдающего за охотником с макушек деревьев, с безопасной дистанции без специальных оптических приспособлений просто не видно. Но это не означает, что кабана можно брать с 300 метров. Несмотря на то, что кабан крупнее любой птицы, его следует выцеливать строго "по месту", обычно – под лопатку или холку. Иначе есть риск получить подранка и искать разъярённое животное в лесу. Поэтому даже на крупных животных используют прицелы настраиваемой кратности – от 1х (цель близко) до 10х. Такие прицелы называют "загонными" и им посвящена отдельная статья.
Поднятая с воды утка или с поля – заяц, хоть и небольшого размера, но подпускают к себе охотника близко. Такая дистанция и широкий угол разлёта дроби допускают успешную охоту без использования каких-либо прицельных приспособлений, кроме стационарного открытого прицела или техники "по стволу". А так как наиболее распространённый тип охоты – по водоплавающей птице, то большинство охотников ни когда не используют дополнительные прицелы других типов. Впрочем, пока позволяет зрение...
В первую очередь опыт использования оружия приобретается с открытым прицелом: в тирах, на стрельбищах, спортивных играх. Самооборона предполагает использование короткоствольного или гладкоствольного оружия на коротких дистанциях. Здесь также находят широкое применение открытые прицелы, а вспомогательные устройства, как ЛЦУ или Коллиматорный прицел могут даже мешать, если у вас нет соответствующего навыка. Тоже самое касается стрельбы "навскидку" по поднятой дичи. Выманиваемый из норы барсук забирается практически в упор: открытый прицел прекрасно справится и с этой задачей.
Со временем круг задач стрелка или разнообразие дичи расширяется, приобретается новое оружие, позволяющее увеличивать дистанцию выстрела. Обычно именно по этой причине встаёт вопрос о выборе нового типа прицельного приспособления.
Но не стоит забывать и о зрении: даже на гладкоствольном оружии иногда целесообразно применять оптический прицел с настраиваемыми диоптриями, если ваше зрение не идеально или ухудшается с возрастом.
Диоптрический прицел
Диоптрический (кольцевой или апертурный) прицел хоть и относится к механическим, но точнее открытого. Он проще в использовании, потому что стрелку нужно меньше усилий для прицеливания, легче найти нужное положение глаз, корпуса и ствола оружия.
Устройство и принцип действия
Конструкция диоптрического прицела — сочетание кольцевой или обычной мушки-пенька со специальным целиком, который представляет собой диск с небольшим отверстием диаметром 0.5 - 1 мм. Это отверстие по-научному называется диоптром или апертурой.
Диск целика служит препятствием, которое полностью перекрывает световой поток в направлении цели, а отверстие апертуры служит диафрагмой. Через нее контрастное изображение проецируется в хрусталик. При этом стрелок вынужден расположить зрачок точно на линии цели. Это единственное возможное положение, при котором она будет видна. Прицеливание происходит интуитивно.
Прицел диоптрический обеспечивает самую высокую точность из всех механических прицельных приспособлений, но имеет очень малое светопропускание. При слабом освещении и в сумерках его не используют.
Начиная с самого простого, диоптрического прицела, встаёт вопрос об установке его на оружии. Так как он наиболее часто применяется для мелкокалиберных или пневматических винтовок, то распространённым вариантом является установка его на «ласточкин хвост», крепёжная плоскость, которая распространена на этих ружьях. Но на некоторых импортных ружьях для большей универсальности используются планки Weaver или Picatinni. О других, более сложных креплениях, мы рассказываем в отдельных статьях или разделах каталога.
Основные преимущества:
- высокая точность;
- простота, надежность, механическая прочность;
- невысокая стоимость;
- компактность и малый вес.
Недостатки:
- узкое поле зрения;
- малое светопропускание;
- перекрывает цель (кроме точки попадания).
Применение
Главная область применения диоптрических прицелов — спортивная стрельба. В олимпийских пулевых дисциплинах — 10 метров пневматика и 50 метров малокалиберная винтовка, используют именно диоптрические прицелы, а оптические и другие прицелы запрещены правилами.
Оптический прицел
Чтобы облегчить стрельбу на дальние дистанции, на оружие устанавливают оптику — зрительную трубу с прицельной сеткой. Такой прицел называется оптическим. Он упрощает процесс прицеливания, увеличивает точность и шансы удачного выстрела.
Устройство и принцип действия
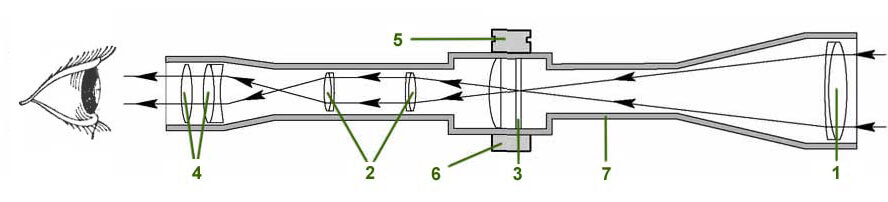
В трубчатом металлическом корпусе, обозначенном на рисунке цифрой (7), находятся объектив (1) и окуляр (4) — две системы линз, между которыми в одной из фокальных плоскостей установлена прицельная сетка (3). Чтобы получить прямое, не перевернутое изображение, используют оборачивающую систему (2) — еще одну группу линз.
Прицел жестко крепится на оружии, а точная корректировка положения сетки производится механизмом баллистических поправок (5) — двумя микрометрическими винтами. Во многих образцах есть светодиодная подсветка (6), позволяющая лучше видеть прицельную сетку в сумерках.
Принцип действия такого прицела не отличается от обычной зрительной трубы или телескопа. Чтобы произвести выстрел, достаточно совместить перекрестье с увеличенным изображением цели. Подробнее об оптических прицелах здесь.
Преимущества
- высокая точность;
- возможность видеть цель на большом расстоянии;
- удобство, простота и скорость наведения;
- простая и надёжная конструкция.
Недостатки
- небольшой угол обзора;
- увеличение веса и габаритов оружия;
- боится ударов, механических повреждений;
- перекрывает открытый прицел: невозможно сделать выстрел на близком расстоянии (кроме загонников).
Применение
Несмотря на вес и размеры, оптика — второй по популярности прицел после обычного механического. Ее устанавливают на нарезное армейское, охотничье оружие и пневматику. Гладкоствольные ружья, имеющие сравнительно низкую точность, редко используют вместе с оптическими прицелами. При стрельбе дробью это просто не имеет смысла, но для охоты пулей, особенно для людей с близорукостью, часто используют загонные прицелы переменной кратности: от 1х до 6х крат. Стоит отметить набирающими популярность ружья Ланкастер, точность которых позволят использовать и оптические прицелы.
Отдельного внимания заслуживают винтовки, про оптический прицел для которых мы подготовили отдельные статьи – мелкашка и пневматика. Дело в том, что эти ружья очень точные для своих дистанций, а работа с оптическим прицелом на них ни чем не отличается от мощных винтовок. При этом стоимость выстрела позволяет полноценно обучиться технике стрельбы.
Именно с оптическим прицелом ассоциируются снайперы, начиная с ПУ 3,5х22 и винтовки Мосина времён Великой Отечественной или ПСО-1 с СВД – афганской и далее. И хотяу спецподразделений в наши дни тепловизионные прицелы постепенно вытесняют оптические, оптика ещё долгое время будет использоваться для охоты и развлекательной стрельбы.
А наиболее популярными статьями стали статьи про оптический прицел для самых распространёных моделей гражданских винтовок:
- Оптический прицел для СКС
- Оптический прицел для винтовок СВД и «Тигр»
- Прицел для «Сайги»
- Прицел для «Вепрь»
Коллиматорный прицел
С обычным открытым прицелом нужно визуально совместить три точки, удаленные на различное расстояние от глаза: целик, мушку и саму цель.Коллиматорный прицел упрощает задачу, заменяя целик и мушку одной светящейся маркой. Коллиматоры не увеличивают цель, а ускоряют процесс прицеливания.
Устройство и принцип действия

Коллиматорный прицел Holosun HS510C
Идея в том, что при помощи полупрозрачной коллиматорной линзы создается видимая проекция в бесконечность прицельной метки. Это яркая световая точка, которая расположена в поле зрения стрелка. Ее необходимо совместить с целью, чтобы сделать точный выстрел. Более подробно об этом можно почитать здесь.
Главное достоинство коллиматоров — практически полное отсутствие параллакса. Это значит, что как бы ни смещался зрачок, видимое положение прицельной марки не меняется, а целиться быстрее и проще. В отличие от оптического и механического прицелов, у стрелка открыты оба глаза и не нужно снимать очков.
Основные преимущества
- не нуждаются в наводке на резкость;
- высокая скорость прицеливания, можно стрелять навскидку;
- широкий угол обзора, визуальный контроль над обстановкой;
- оба глаза открыты;
- небольшой вес и размер;
- простая, прочная и надежная конструкция;
- низкая стоимость.
Недостатки
- небольшая дальность;
- сравнительно невысокая точность.
Применение
Коллиматоры предназначены для стрельбы на дистанции прямого выстрела. Они с успехом применяются в вооруженных силах. Некоторые модели стрелкового оружия, например, израильский автомат TAR-21, совсем не имеют открытого, а выпускаются со штатным коллиматорным прицелом. Коллиматоры широко используются спецслужбами (в штурмовых группах) и для самообороны. Иногда их устанавливают на пулемёты, например 1п87 прицел, где плотность огня важнее точности.
Совместно с подсвтольным фонарём или очками ночного видения коллиматорный прицел можно использовать ночью.
Для охотников этот тип прицелов интересен, в первую очередь, на гладкоствольном оружии, особенно при стрельбе навскидку, дробовым зарядом. Как мы говорили выше – это самый распространённый тип охоты и коллиматорные прицелы являются самыми массовыми среди охотников. Поэтому коллиматорам для гладкоствольного оружия мы посвятили отдельную статью.
Хорошие результаты дает использование коллиматоров и при загонной охоте с нарезным оружием.
Благодаря небольшому весу только коллиматоры можно устанавливать на некоторые типы гладкоствольных ружей, у которых совсем не предусмотрено место крепления прицела (ласточкин хвост или Weaver), но есть вентилируемая планка. Она позволяет закрепить лёгкие прицелы как непостредственно с креплением для вентилируемой планки, так и с использованием переходных планок.
Призматический прицел
Понятие призматического прицела появилось недавно по сравнению со всеми другими типами. Свое начало "призматики" получили в применении на автоматическом оружии спецслужб и плавно перешли на охотничьи карабины. Призматические прицелы имеют много сходств с оптическими прицелами, так как тоже оснащены системой линз, что дает небольшое увеличение, и гравированную на одной из линз прицельную сетку. Отличие во внешнем виде и применение отделяет их в собственный вид. Внешне призматические похожи на коллиматорные прицелы закрытого типа. В них также используется подсветка прицельной сетки путем отражения и данные прицелы имеют интегрированное крепление, в основном под планку Weaver. Мы собрали все самые интересные предложения в отдельном каталоге - Призматические прицелы.
Основные преимущества
- легкие и компактные
- возможность работать как на коротких, так и на средних дистанциях
- наличие диоптрийной подстройки
- наличие крепления
- увеличенная точность
- специализированные прицельные марки
Недостатки
- небольшое увеличение
- малая светосила объектива
Применение
Небольшая кратность призматических прицелов изначально была оценена штурмовыми отрядами, когда необходимо использовать один прицел при подступе к зданию на дистанциях до 200 метров, так и внутри него. Позже охотники, стреляющие на короткие дистанции, начали применять его в загонных охотах и с подхода. Компактный размер и малый вес не отягощает его перенос на оружии. Чаще всего прицельные сетки призматических прицелов имеют простой вид для быстрой стрельбы при вскидывании (аналогично коллиматорным), но при этом с дополнительными штрихами для поправки (аналогично оптическим). Подборка призматических прицелов разных производителей, а также сравнение с другими типами можно посмотреть в соотествующем разделе - призматические прицелы.
Лазерный целеуказатель
Лазерный целеуказатель (ЛЦУ) — компактный прибор, который формирует на цели световое пятно, совпадающее со средней точкой попадания. Это позволяет повысить эффективность применения оружия на ближних дистанциях, скорость наведения и точность стрельбы навскидку.
Устройство и принцип действия
ЛЦУ состоит из закрепленного на оружии корпуса, источника питания и специального лазерного светодиода минимальным расхождением светового луча. Для включения может использоваться выносная кнопка, расположенная в удобном для стрелка месте, например, поблизости от спуска.
Лазерный целеуказатель — это не оружейный прицел в прямом смысле слова, а вспомогательное прицельное приспособление, имеющее ограниченную дальность и точность. Иногда ЛЦУ используют совместно с коллиматорным, ночным или дневным оптическим прицелом. Это сделано, например, в российском прицельном комплексе «Ратник», разработанном в 2015 году для применения в вооруженных силах. Все ЛЦУ собраны в отдельном каталоге - Лазерные прицелы.
Преимущества
- простота и высокая скорость прицеливания;
- минимальный вес и габариты;
- простота и надежность конструкции.
Недостатки
- малая дальность;
- световое пятно источника излучения демаскирует стрелка;
- яркий солнечный свет может засвечивать метку.
Применение
Лазерные целеуказатели в основном используют для самообороны, в армии, силовых и охранных структурах для выполнения тактических задач, чаще в комплексе с другими прицельными приспособлениями. На охоте ЛЦУ применяются редко, как правило, с гладкоствольным оружием. Помните кошек, которые гоняются за лазером? Примерно также реагирует дикое животное: только пугается светового пятна и предпочитает скрыться.
Прицел ночного видения
Прицел ночного видения, так называемый «ночник», усиливает изображение цели, которая имеет низкую яркость. Он позволяет вести точную стрельбу в почти полной темноте — при очень слабом отраженном свете луны, звезд или искусственных источников. Современные ночные прицелы классифицируются по типу преобразования света – электронно-оптические и цифровые. В этом разделе подробно о первых.
Устройство и принцип действия
Основа прицела ночного видения — электронно-оптический преобразователь (ЭОП). Это вакуумный прибор, который состоит из светочувствительного катода и покрытого люминофором анода. Он преобразует слабый, невидимый глазом свет, в яркое изображение. Подробнее об этом можно почитать здесь.
Целятся в «ночник» так же, как в обычный оптический прицел — наводят перекрестие. Главное отличие в том, что стрелок видит в окуляре не привычное изображение цели, а усиленную прибором картинку, обычно зеленого цвета, которая отображается на миниатюрном экране.
Преимущества ночных прицелов
- высокая точность в условиях плохой видимости;
- дальность до 300 метров и более, в зависимости от ЭОП;
- сравнительно небольшой вес и размеры;
- длительная непрерывная работа;
- высокая надёжность (по сравнению с цифровыми).
Недостатки
- относительно высокая стоимость современных моделей (поколения 2 и выше);
- снег, дождь, туман, ветви и высокая трава являются помехами;
- в полной темноте необходима ИК-подсветка (демаскирует перед другими ПНВ);
- при встречном свете срабатывает защита от засветки.
Применение
Ночные прицелы устанавливаются на армейское, служебное и гражданское оружие, как с нарезным стволом, так и на гладкоствольное. В зависимости от решаемых задач, выбирают приборы, которые различаются чувствительностью, дальностью действия и конечно стоимостью. Для охоты часто использовали недорогие прицелы с ЭОП первого или 1+ (один плюс) поколений. Однако, сейчас они сняты с производства, а второго поколения прицелы дороже цифровых. Подробнее о классификации ПНВ можно узнать в отдельной статье, а сравниваем цифровой и ЭОП здесь.
Цифровые прицелы
Цифровые прицелы видят как днём так и ночью. Это возможно благодаря тому, что ПЗС матрица может регистрировать широкий спектр светового излучения, даже невидимый глазу. Частным случаем цифрового прицела является тепловизионный, о котором подробнее в следующем разделе.
Стоимость электронных компонентов цифровых прицелов постоянно уменьшается. Так, первые модели были соизмерими с ценой 2+ поколения ЭОП, то сейчас не дороже ночных прицелов 1+ поколения, которые практически сняты с производства.
PARD DS35-70 LRF на винтовке Remington 700
Устройство и принцип действия
Цифровые прицелы работают по тому же принципу, что цифровая фото/видео камера или современный смартфон. Изображение фокусируется на ПЗС матрице и отображается на наблюдаемый в окуляр прицела экране. Благодаря чувствительности современных матриц прицел может работать не только днём, но и ночью – регистрируя невидимый глазу инфракрасный свет. В полной темноте (например, в помещении или в тёмном лесу) вместе с прицелом используют ИК-подсветку – также как и для прицелов с ЭОП, только работающую на другой длине волны (до 900 нм).
Огромным преимуществом цифровых (и тепловизионных) прицелов является возможность наложить дополнительную информацию прямо поверх изображения. Это может быть уровень заряда, меню настроек, огромное количество выбора сетки (в том числе возможность пристрелять одним патроном). При совместной работе с лазерным дальномером показания дальномера могут не только выводиться на экран, но и регулировать положение сетки в соответствии с баллистической траекторией пули! Прицелы с лазерным дальномером мы собрали в отдельный раздел.
Преимущества цифрового прицела
- возможность работать и как ночной и как дневной прицел;
- дальность до 300 метров;
- ударная стойкость к любым калибрам;
- возможность вывести дополнительную информацию на экран;
- цифровое увеличение.
Недостатки
- высокое энергопотребление;
- ремонт только в сервисном центре или на заводе;
- в полной темноте необходима ИК-подсветка (демаскирует перед другими ПНВ).
Применение
В связи с тем, что цифровые прицелы уступают прицелам на ЭОП по надёжности и высокому энергопотреблению их не используют военные. Но благодаря чёткому изображению и относительно невысокой цене в настоящие момент это основной прицел для ночной охоты. Более подробно мы сравниваем прицелы цифровой и с ЭОП здесь.
Тепловизионный прицел
Тепловизионный прицел — прибор, визуализирующий собственное тепловое излучение цели. Он не нуждается во внешних источниках освещения, позволяя наводить оружие в полной темноте. При этом используются данные о температуре самого объекта по сравнению с окружающим пространством.
Прицел с тепловизором работает не только в полной темноте, но и при дневном свете. в снег, туман, при задымлении. От позволяет точно наводить оружие на технику и людей в камуфляже, выцеливать животных на фоне листвы или снега, независимо от их природной маскировки. На сегодняшний день, это самый совершенный вариант прицела для условий недостаточной видимости. А самым лучшим моделям мы посвятили отдельный раздел каталога.
Принцип действия и устройство
Прицел с тепловизором – это частный случай цифрового прицела. Он также похож по принципу действия на видеокамеру, которая вместо света регистрирует тепло. Все нагретые предметы имеют невидимое для человека инфракрасное излучение.
В основе тепловизионного прицела болометрический сенсор, чувствительный к тепловому излучению. Это миниатюрная полупроводниковая матрица из терморезисторов, имеющих чувствительность в сотые доли градуса. Сигнал от матрицы обрабатывается электроникой и выводится на жидкокристаллический экран, который стрелок видит в окуляре. Подробнее об устройстве, технических характеристиках и выборе тепловых прицелов написано здесь.
Преимущества
- наиболее дальние дистанции обнаружения тепловых целей;
- работают в полной темноте;
- могут работать на свету, нет засветки;
- точность, как у оптических прицелов;
- снег, дождь, туман, листва и трава не являются помехой.
Недостатки
- сложная конструкция;
- высокая стоимость;
- требуется дополнительный источник питания.
Применение
Тепловизионные прицелы используют военные, охранные структуры и охотники. Они одинаково хороши для гладкоствольного и нарезного оружия. По точности сопоставимы с хорошими оптическими прицелами, а по дальности обнаружения тепловых целей часто превосходят их. Единственным ограничением для массового использования на охоте является их высокая стоимость — от 200 тысяч рублей и дороже.